Thursday April 2026

হটলাইন

কনটেন্টটি শেষ হাল-নাগাদ করা হয়েছে: শুক্রবার, ৩০ আগস্ট, ২০১৩ এ ০১:৫০ AM

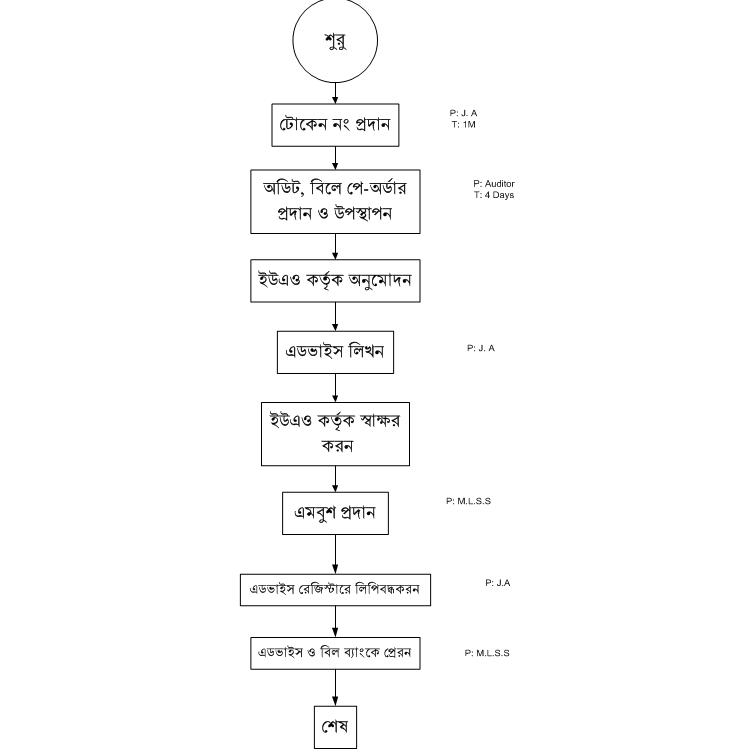
সিএও এর অথরিটির ভিত্তিতে অনুদান ও প্রকল্পের টাকা ছাড়করন

কন্টেন্ট: সেবা এবং ধাপ

ফাইল ১

এক্সেসিবিলিটি

স্ক্রিন রিডার ডাউনলোড করুন