Thursday April 2026

হটলাইন

কনটেন্টটি শেষ হাল-নাগাদ করা হয়েছে: শুক্রবার, ৩০ আগস্ট, ২০১৩ এ ০১:১৬ AM

সরবরাহ ও সেবা

কন্টেন্ট: সেবা এবং ধাপ

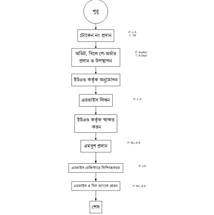
ফাইল ১

এক্সেসিবিলিটি

স্ক্রিন রিডার ডাউনলোড করুন