Friday April 2026

হটলাইন

কনটেন্টটি শেষ হাল-নাগাদ করা হয়েছে: শুক্রবার, ৩০ আগস্ট, ২০১৩ এ ০১:২৬ AM

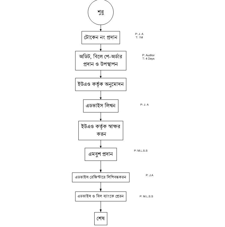
মেরামত, সংরক্ষন ও উন্নয়ন খাতের বিল পরিশোধ

কন্টেন্ট: সেবা এবং ধাপ

ফাইল ১

এক্সেসিবিলিটি

স্ক্রিন রিডার ডাউনলোড করুন